Analyzing UFO Sightings Databases with Generated Code
Using generative AI and natural language processing on multiple UFO sighting databases, we finally have the tools to answer questions like Hynek first posed in 1972
Can human consciousness influence electronic systems? A strange 1996 patent from Princeton's PEAR lab describes a device that detects statistical anomalies in random numbers - supposedly caused by human intention - and uses them to control physical objects.
There's an apparently weird connection between human consciousness and electronic systems. This has been a continual area of research since I first encountered the concept - there's something profoundly intriguing about the possibility that our intentions might subtly influence the behavior of machines. I've explored this in depth and have written multiple articles on this topic.
I've found that many studies explore the evidence for possible interaction between mind and machine, but very few provide examples of practical applications.
Enter the patented Apparatus and Method for Distinguishing Events That Collectively Exceed Chance Expectations. US Patent 5,830,064. Filed in 1996 by researchers from Princeton's Engineering Anomalies Research (PEAR) lab and later assigned to Pear Inc., this patent describes a portable device that not only generates random numbers and detects when they collectively exceed chance expectations (due to operator intention), but then uses the outputs as a driver to control things like toys, games, displays, etc.
This innovation revolves around Field Random Event Generators (F-REGs) and Chance Expectation Detectors (CEDs), devices designed to generate random numbers or sequences and detect deviations from expected statistical norms. These deviations, often subtle and fleeting, can be influenced by external factors, including human intention. By applying statistical methods to these random sequences, the system identifies anomalies—occurrences that are unlikely to result from chance alone—and uses them to control physical or digital outputs.
What makes this patent different is how it transforms abstract theories about consciousness-machine interaction into concrete, buildable systems - complete with circuit diagrams, component specifications, and practical applications ranging from toys to environmental controls.
For my more technical readers - here's a summary of how this technology works. At its core, the patented system integrates:
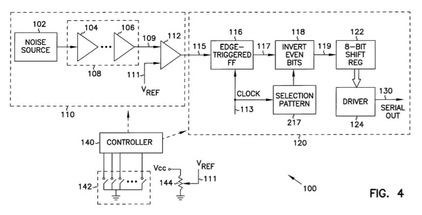
A Field Random Event Generator (F-REG) uses electronic noise from a resistor as a source of randomness. This quantum-scale noise is amplified through multiple stages and converted into a digital signal. The patent provides explicit circuit diagrams, including:
One of the most innovative aspects of the design is its approach to removing systematic bias. What this means is that steps were taken to addess any potential bias from the random number generating hardware. The device employs a sophisticated bit-inversion scheme using a carefully designed 70-byte pseudo-random sequence mask. This mask was selected from approximately 100,000 candidates based on minimal autocorrelation properties, ensuring that:
The device accumulates bits into larger samples (typically 1024 bits) and performs real-time statistical analysis. The patent describes several key statistical measures:
The distinctiveness of this technology lies not only in its ability to detect improbable events driven by operator intention, but also in its versatility to actually do something when it happens. With potential applications ranging from interactive gaming to advanced biofeedback systems, it offers a enigmatic tool for blending randomness, intentionality, and machine control.

The potential applications of this patent span multiple industries, each leveraging its unique ability to interpret randomness and intention. Let’s explore some of the most compelling possibilities:
While the patented technology holds immense promise, there's obviously skepticism as to whether it actually works. Also, its adoption and deployment would require addressing several additional challenges:
If this technology were to work, the potential benefits would be transformative. Unlocking a connection between randomness and human intention would force us us to rethink how we interact with machines, data, and the environment around us.
Ultimately this patented apparatus is more than a technical curiosity; it promises a framework for the next generation of human-machine interfaces. Its applications could make systems not just responsive but deeply intuitive, bridging the gap between the physical and the cognitive.
The challenge—and opportunity—lies in transforming this revolutionary theory into everyday tools that redefine our relationship with technology.
That's why I'm going to attempt to build it! The plan is to construct a device based on the patent specifications and then attempt a series of experiments to see if I can influence it's behavior through intention alone. I'll document the journey along the way - stay tuned subscribers and members!
Dear reader, as you can see from the types of topics I cover, I do not write for an algorithm and I do NOT display ads of any kind. If you like this content, please consider becoming a subscriber to keep this site going! Also, if you enjoyed this article please consider sharing on social media! Thank you again for your support and readership.